This is a home appliance that grinds meat by squeezing it through a sieve and cutting it with special screw knives. It was invented back in the 19th century, but electric meat grinders became popular in Russia only in the 21st century. The principles of the device, operation and operating rules have not changed, but now the elements are moving due to the operation of the electric motor. The main selection criteria are power and performance.
The benefits of an electric meat grinder
This device has no alternatives, so the main advantages must be disassembled in comparison with its mechanical progenitor:
- an electric meat grinder works faster;
- saves human strength;
- there is no need to clean the device during operation;
- usually devices are quite powerful, they can process tendons, cartilage, which is often beyond human control;
- there is no need to fix the device to the table with a clamp.
At the same time, the system in modern meat grinders is quite safe, since the device has a narrow and long neck, into which you simply cannot stick your fingers. The meat is fed to the augers using a pusher.
The device of the meat grinder
First, it is worthwhile to understand the general principle of the design and operation of the meat grinder, and then pay attention to its working part, where the meat is grinded.
General device
The meat grinder consists of several elements:
- control unit, where the buttons and indicators are;
- an electric motor that converts electrical energy into mechanical energy
- the working part where the grinding of meat takes place.

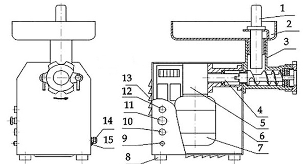
The device of the meat grinder
Meat mincer device: the case consists of a metal part (3) where the working part is located, and a plastic part (6) where the meat grinder motor is located. Behind the electric motor there are grilles (13) through which heated air flows out. At the bottom there are often rubberized legs (8) that do not allow the device to slide on the table.
On the control unit is a button to start work (12) and stop it (11). Most models have an auger scroll key (10) that must be pressed when the shaft is clogged with something and needs to be cleaned. Also, there is often an operation indicator (9) that turns on when the device is operating.
The motor has an input for an electric cable (14), usually there is an earth clamp (15) nearby. The motor itself (7) converts electrical energy into mechanical energy. The gearbox (5) transfers rotational motion from the electric motor to the shaft (4), which is directly connected to the screw.
Working part
The working part includes a meat grinder and a device for receiving meat. The meat receiver consists of a tray or cup and a pusher - a long plastic and narrow tube that needs to be pushed into the augers. Key elements are the same for all models.

The simplest meat grinder scheme
The whole structure is in a metal case, which does not allow the product to fly apart due to the pressure inside the working chamber. Above is an oblong or round tray, in which there is a narrow hole. A plastic pusher is inserted into it, where it is necessary to squeeze the meat onto the screws. Processed products are placed in the tray. It itself is usually made of stainless steel or plastic.

Stainless Steel Oval Tray
In the pipe of the meat grinder is a screw, which is attached to the rotary shaft. When assembling the model, you need to ensure that the fastening is as reliable as possible, otherwise the electric motor will not be able to effectively control the screw during operation. A rubber sleeve is used for the connection, which does not allow moisture from the working chamber to enter the gearbox. The meat grinder pipe itself is made a little wider than the screw so that the meat does not come out through the blades, but at the same time, the axis spins freely, not controlled by the friction force.

Auger with rubber plug at the end
The screw is one of the key parts of a meat grinder. It looks like a drill with high spiral blades. The auger is made of an alloy of various metals, which give the structure strength and at the same time resistance to air, water and other compounds. During movement, he pushes the meat onto the knives and wire rack, and also creates a sufficiently high pressure for grinding and chopping cartilage.

Different shapes of knives
The knife, on which the products fall from the auger, looks like a screw with four sharp blades. He cuts and grinds the meat so that it goes better through the grill. The knife is made of an alloy of metals, as it needs to be durable and resistant to moisture. Often the blades have a special curved shape for better cutting products. The whole design is made so that the knives self-sharpen during friction against the screw and serve longer.
Knives need to be sharpened periodically, otherwise they become dull and stop cutting meat.

Different grid sizes
The grill is made in the form of a thick steel plate, in which rather large holes have been made. Their size determines the consistency of minced meat. The grill may have holes of various sizes:
- 3-3.5 mm - small;
- 4-5 - medium;
- 8-9 are large.

Clamp or knurled nut
The last detail is the clamp, which looks like a large knurled nut. He fixes the lattice, preventing it from jumping off during work. In addition, all other nozzles (knives, augers) often also do not have reliable fasteners, so it turns out that the clamp secures not only the grilles, but in general the entire structure. Usually the knurled nut is twisted in the same direction in which the auger with blades rotates, so it does not fly off due to the rotation of the internal elements.
Many models come with additional grills with various holes and knives of various shapes and thicknesses, as well as screws for working with fruits and vegetables.
How does a meat grinder work?
To reduce the likelihood of wear, you need to chop the meat into small pieces, and remove the bones and cartilage. All this should be small enough to fit easily into the meat receptacle. Pusher squeeze the meat inside, as a result of the product falls on the auger.
Because of its screw structure, it pushes pieces into the blades during rotation, which cut them even smaller, and then they fall on the grill. Due to the pressure created by the screw, the meat is forced through the holes and comes out in the form of a processed homogeneous mass.
Terms of Use
Before starting work, you should familiarize yourself with the operating rules:
- Before stuffing, the meat should be cut into small slices so that they freely enter the meat receptacle.
- Even if it is written that the meat grinder can cope with small bones and cartilage, it is still better not to try to grind them, since the device in this case starts to work for wear. Which leads to a too quick failure.
- All items must be washed thoroughly after each use. To do this, the design should be disassembled; without this, all internal elements cannot be cleaned. Remember that the union nut also often needs to be cleaned, and not just the auger, knife and grill.
- Knives should be sharpened in a timely manner. Just because they self-sharpen does not mean that this does not need to be done. Self-sharpening extends the time that the knife works without sharpening, but does not eliminate this need.
- You can’t put your hand in the meat receptacle and try to get out a bone or a large piece of meat at the moment when the device is working. You can not lower the meat on the screws with your fingers, a pusher is specially made for this.
- The meat passes through the grill at high pressure, that is, it is pushed through the holes with new portions of the product. Therefore, after use, a few grams of stuffing always remain on the knife and cylinder. It must be removed after each use.
- Before use, it is recommended to wipe the auger, knife and grill on the knife side with vegetable oil. This will reduce friction, save energy, speed up meat passage and increase productivity.
Also read: How to clean the meat grinder after the dishwasher?
Assembly of meat grinder
In general, the design of the working part is simple enough to master assembly and disassembly the first time. But you need to pay attention to certain important nuances, which are often forgotten. Disassembled meat grinder shown below in the picture, various lattice options are also shown there.

How various parts should be inserted
Dismantling the meat grinder
Disassemble and clean the meat grinder after each use. To get the grill, screw knife and screw, it is usually enough to unscrew the clip, since it is it that holds the entire structure, and the internal elements are often no longer fixed. The knurled nut can sit very tight, so you have to make an effort to unscrew it.
After removing all the internal elements and detaching the tray, wash the parts thoroughly. Often all surfaces become greasy, especially if vegetable oil has been used to facilitate the operation of appliances. To remove fat, you can use alcohol, as they destroy lipids.
Assembly of meat grinder
Order meat grinder assembly following:
- Before assembly, make sure that all parts of the meat grinder are clean.
- The screw is mounted first. Before this, a rubber plug must be placed on its back side, which prevents the ingress of liquid from the working chamber into the device. Then you need to connect the auger to the gearbox.

Connecting the auger to the gear hub
- Then the knife is mounted. It is set in such a way that the flat part of the blades is on the side of the grill. The exception is the circular knife, it should be placed with a corrugated surface closer to the grate.

Proper knife installation
- Then the grill is installed.
- Then the clip is twisted. Put it tight enough so that the entire structure locks securely.
- At the end, the meat tray is attached to the body.
How to choose a meat grinder?
Despite the simplicity of the device, it is quite difficult to choose a meat grinder that is ideally suited in all respects, so you need to carefully understand this issue. When buying, you should pay attention to the following characteristics.
Performance
Productivity is how much forcemeat a meat grinder can produce per unit of time. This indicator is affected by the power of the device, as well as the width of the working chamber. It is clear that the wider the meat grinder pipe, the more product can pass through it. But at the same time, the demand for power increases, since due to the increased diameter of the screw, more energy is needed to rotate it.
Standard productivity - 1-1.5 kg / min. But there are meat grinders with indicators of 0.5 or 2.5 kg. At the same power (for example, 1900 W), the performance can vary (for example, be 1.5 or 2 kg / min). Higher performance is provided precisely by the size of the working chamber or by the speed of rotation of the screw.
Power
The screw rotation speed depends on this indicator, and this directly affects productivity. Also, power affects the power load that auger blades can create. The higher these indicators, the faster the meat passes through the working chamber and the easier the device copes with cartilage and tendons.
Each model has a maximum and rated power. The maximum indicators indicate what kind of work the engine can do when working for wear, when cartilage or bones get into the auger. This criterion does not affect productivity, but indicates the possibility of a meat grinder. A rating characterizes how the instrument will operate under standard conditions.
The maximum power of most devices varies in the range of 1000-2000 W, but there are meat grinders in which this figure is 400 or 3000. If you are not going to grind the cartilage and bones, then 1000 will be enough for work. At the same time, remember that the more powerful the meat grinder , the more noise it creates during operation.
Material
The device can use plastic, aluminum, stainless steel and other alloys. Metal mincers are heavier, but stronger and last longer. All internal working bodies of the meat grinder should be steel, the case can also be plastic. Sometimes there are meat grinders with plastic screws. Such devices are suitable for chopping berries or fruits, but during meat processing such parts often break.
Knives are always made of metal. Most preferred are ferritic stainless steels, which are highly resistant to corrosion and aggressive compounds. Martensitic alloys having corrosion resistance and mechanical strength are also suitable. Remember that knives need to be sharpened periodically, so they must be made of stainless steel.
Gearbox
Often the gears of the gearbox are made of plastic, as it is cheaper, and the device fulfills the warranty period. In addition, the meat grinder from this becomes easier. But at the same time there are cases when the gears in the gearbox break due to increased load. If possible, you need to choose devices with metal gears or from high-strength plastics.
You also need to pay attention to the sleeve coupling, to which the auger of the meat grinder is connected. Through this element, the liquid component of the processed product often penetrates into the Chinese appliance. It is necessary to properly disassemble the device and evaluate the tightness from the inside, but this can only be done at home.
Reverse
The reverse button causes the auger to spin in the opposite direction. This feature allows you to remove the cores and bones, which during operation led to a stop of the device. When reversing the processed mass, the screw pushes in the opposite direction. If this is not possible, you will have to disassemble the device at each blockage, stopping the grinding of meat during assembly and disassembly.
Number of speeds
Most housewives have two speeds. The first is needed for grinding meat and other viscous or durable products. The second is used to squeeze juice from vegetables and fruits. Sometimes manufacturers make 3 speeds, but remember that maximum speed is not always required. In addition, the faster the screw rotates, the more noise the meat grinder makes.
Uptime
The time during which the meat grinder can work without interruption depends on the speed of the screw. The engine must be turned off so that it cools down and does not overheat. Make sure that the device, even at the highest speed, can work for 10-15 minutes without the need to turn off. Typically, continuous operation time depends on the presence of fans in the structure or the volume of the case.
Motor protection
Various options for protecting the motor from overheating are used. On some, an electric thermal fuse is installed, which breaks the electrical circuit when overheating. On other devices, a fuse sleeve is mounted, which mechanically blocks the screw. Any of these elements protects against overheating equally. When choosing a meat grinder, you need to pay attention to the stability of the fuse to shock and vibration.
Popular models
You can find a good meat grinder at the best price. An overview of several popular models is given below.The table compares the cost and the main characteristics.
| Title | Power nominal | Maximum power | overheat protection | Performance | Price |
| Zelmer 687.5 | 500 | 1300 | + | 1,5 kg | 3800 |
| Bosch MFW 66020 | 600 watts | 1500 | – | 3 kg | 6200 |
| Panasonic MK G1800PWTQ | 300 watts | 1800 | + | 1.6 kg | 15000 |
| Axion M 31.02 | 230 | 1500 | – | 1.7 kg | 3400 |
The table shows that although productivity and power affect the price, there is no direct proportional dependence.



Interesting information, and I have a Dauken FW3040 meat grinder, convenient and functional. I am pleased.