Use a mechanical meat grinder - sometimes a real test, it is especially difficult to turn meat in such a meat grinder. There are two ways to solve the problem: buy an electric meat grinder or upgrade an existing one. The second method is much more interesting: you can achieve amazing results (high torque), which are absent in many finished devices.

Many electric meat grinders are actually not as powerful and reliable as stated
On average, a manual meat grinder costs up to 1000 rubles, but if the device is modernized, you can cook not only minced meat, but also pasta, cookies and even squeeze juice from fruits and vegetables.
The most important characteristic of an electric meat grinder is power, not only the speed of the device, but also the quality of the final product depends on this. For domestic use, a meat grinder with an engine of 0.5-0.8 kW is suitable.
Parts List
Consider several options for the construction of a meat grinder, so the details will need different. What exactly is needed is an electric motor (0.3-0.5 kW) and an old meat grinder.
It is also desirable to have metal profiles for the frame of the device. You can use wood, but wooden structures during the assembly process do not cope with the vibrations that arise.
DIY electric meat grinder manual
Method 1. Machine-type device
1. From the metal corner measuring 4.5 x 4.5 cm, the frame of the future electric meat grinder should be welded. The case consists of four legs and jumpers. The first pair is located above, the second - from below.
2. A tabletop is required at the top. The thickness should be about 30 cm, so the use of several boards will be optimal.
3. The legs should be bolted to the jumpers.

Homemade belt grinder
4. The two lower boards (which are part of the home-made countertops) should be connected, leaving a small gap of 3-4 centimeters for the drive belt.
5. The handle in a mechanical meat grinder will no longer be needed; instead, a small hub should be installed. A pulley with a diameter of 20 cm must be put on it. A pulley from a car generator will do.
6. The device must be attached to the countertop using a factory clamp used as a retainer.

Electric meat grinder pulley in operation
7. A pulley should also be fitted to the motor shaft.
8. Install the motor (preferably three phase).
9. Set the switch with which the device will start and stop.
For safety, so that there is no contact with the belt, a plastic cover can be installed on the pulley.
The second way. Electric meat grinder juicer
The juice extractor differs from the electric meat grinder mainly in torque, i.e. rotational energy does not play on speed, but on power.
To do this, it is customary to install gearboxes - devices for reducing and increasing the gear ratio. To assemble a gearbox with your own hands is not an easy task, however, changing the ratio of pulley diameters can significantly increase the torque.

Manual meat grinder with mounted large pulley
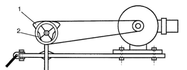
On the engine, located on a horizontal plane, you should put on the smallest pulley (diameter 30-40 mm). Instead of a mechanical handle, a large pulley should be installed on the meat grinder, preferably 4 times the diameter than on the motor shaft (10-15 cm).
The pulley must be clamped with a nut. We put on a belt on both pulleys and move the meat grinder as far away from the motor as possible (to tighten the belt as much as possible).
Using an average engine of 0.5 kW, we get a fairly low rotation speed (about 150 rpm.), However, the torque will be very high.

Diagram of an electric meat grinder-juicer with a large ratio of pulleys. 1 - an old mechanical meat grinder, 2 - a small pulley.
System features
If the shaft of the meat grinder turned out to be somewhat conical in shape (instead of the desired cylindrical one), this is not a problem. You should take a sheet of tape (strip) of tin (for example, from a can) and install it in the gap between the shaft of a mechanical meat grinder and a pulley. This will prevent the belt from moving along the pulley and shaft.
Belt movement in planes parallel to the shafts is highly undesirable for two reasons:
- if the belt does not move perfectly in one plane, longitudinal vibrations occur (because of the revolutions, he will try to align himself), the installation will go into resonance and vibrate until the belt breaks;
- the shift of the belt from one or two sides leads to noticeable energy losses, because the friction force in the longitudinal displacements of the belt leads to heating and the development of unnecessary useful work.
You should not be afraid of high loads on the meat grinder. There is an opinion that a meat grinder, designed for 50-100 revolutions, will start to “crumble” at 200 revolutions. This is not so: the design of mechanical meat grinders is rather monolithic and much more durable than that of plastic electric drives.
With excessive load, the belt will take on the role of the damper, since it is the most flexible link in the structure transmitting rotational energy. Therefore, when overloaded, the belt will simply begin to slip slightly.
It is important to choose the right belt: it should not be too narrow or wide. A belt from VAZ cars (even worn out) is suitable: such belts rarely tear, and their wear does not play a role in an electric meat grinder.

Instead of a belt, you can also install a chain, but this can cause early engine combustion and grinding of the teeth of the hub
Many craftsmen install an additional gearbox between the second pulley and the grinder of the meat grinder or connect the engine directly through it. This increases the power and efficiency of the device. However, the risks are increasing.
If too hard an object gets into the meat grinder, the gearbox may burn out. In the case of a belt, it will start idling, skidding on a jammed pulley.
On an electric meat grinder, which is made using this technology, it is easy to grind not only meat, but also fruits, vegetables (even so hard as zucchini). Homemade Juicers and electric grinders show much more impressive results in both speed and quality. To wash and clean such a meat grinder is very convenient: in fact, it all comes down to washing an ordinary manual meat grinder.
It should also be remembered that in order to install the knife, the shaft of the meat grinder must be finalized - it is necessary to drill a hole (about 2.5 cm deep) in it and cut the thread under M10.
Why the meat grinder does not twist the meat well - how to fix the problem
How to make a granulator from a meat grinder - step by step instructions
Assembly diagram of electric and manual meat grinder
Reverse in a meat grinder: what is it and how much is needed
Sharpening knives for a meat grinder at home 

