The tap water of neither private houses nor comfortable apartments is not clean and sterile. Often it carries a mixture of heavy salts and metals, pathogens, and is also unpleasant in taste. In order to make water potable, the developers created a special ionization device.
Water ionizers are devices that disinfect water from various pathogenic bacteria, viruses, fungi, microbes using silver ions. How necessary this device is, whether it is useful or harmful, you can find out by reading the article. We will also give some tips on how to choose the right water ionizer for use.
What is a water ionizer for?
Devices are intended for independent production of alkaline ionized water suitable for drinking. Such water, after passing through ionization devices, becomes saturated with various minerals and oxygen.
The purified liquid is capable of:
- increase immunity;
- have an antioxidant effect;
- normalize blood pressure;
- improve metabolism;
- accelerate tissue healing;
- have a disinfecting property;
- have antifungal effects;
- improve the condition of hair and skin.
In addition, purified water fully complies with international safety standards. Countries such as Japan, Germany, America for many years have been using such devices for cleaning.

Foreign water ionizer
Divorce or not
Many people think about whether the water ionizer is really useful and necessary as described, or is this the most common divorce for manufacturers of these devices to get big money.
- People who use only purified water for a long time feel much better, chronic diseases disappear, and metabolism and rejuvenation of the body as a whole improve.
- When choosing a device, it is worth paying attention to the manufacturer's company and the place where the goods are purchased. It is imperative that the seller has a quality certificate, this will save the buyer from acquiring an unnecessary fake.
- Do not spare money for your health - it is better to buy a high-quality ionizer, which for many years will serve the owner, protecting from various diseases.
- Laboratory studies have shown that in fact, the water that passes through the ionizer has the declared properties: purity, benefits, safety.
- There are scammers who hunt in this area. In order not to fall into the trap of attackers, you should be suspicious of "street" sellers, as well as those who are trying to sell by phone, asking for home. Many fraudulent schemes act just like this: the operator calls and clarifies if the owner has any device. Then they tell him about the benefits and offer to try. This is a real fraud. As a rule, devices from such sellers are fake, but they are very expensive. Therefore, you do not need to be lazy, but it is better to purchase the device in a specialized store.
Thus, water ionizers prove their need. But this is only if the product is of high quality and certified. Ionizers do not change the structure of water, but only clean and disinfect it.
Criteria to consider when buying
When choosing a device for water purification, some nuances should be taken into account, then to use the new device for a long time:
- The plates must be made of titanium, this prevents oxidation. These are special electrodes through which electrolysis of water occurs, so it is important to choose an ionizer with titanium plates.
- The more plates, the higher the quality of ionized water. Ideally, there should be nine. This guarantees good quality of the finished water, despite its original characteristics.
- Like any other equipment, they can be damaged or malfunctioning. Therefore, do not look for devices in distant cities. It is better to find the right device in your city so that the service is at hand.
- When buying, pay attention to the cartridges used. Companies of little-known manufacturers may not find replaceable blocks, and without them the ionizer will not work. It also happens that cartridges are much more expensive than the ionizers themselves, this should also be considered before buying.
- There are flow and non-flow type ionizers. The device of the first type is more modernized and convenient. It is a device with touch buttons, when pressed, purified water comes from the tap. Simply put, the device is installed on the tap itself, and using the buttons you can adjust the type of water received. Non-flow type devices are not convenient in that in order to obtain potable water you need to pour it into a jug and wait until it drains. This takes some time and often many people just stop doing it. But in any case, the choice rests with the buyer.
- There are ionizers that produce both acidic (dead) and alkaline water. And there are devices that produce only alkaline water. An ionizer of the second type is not enough, since acid and alkaline water are often necessary in everyday life.
- Before buying, it is important to determine the price and decide which range is the most optimal. But a good ionizer cannot be very cheap. And you can’t save on health, so it's better to spend money and buy a quality thing.
- If you plan to purify any water, regardless of the location of a person, you can purchase a special portable water ionizer that you can take with you on a business trip, camping trip, fishing and other places. The cartridge of such an ionizer is usually enough for one month. It has a sturdy steel case in which all the necessary minerals are located. In the case itself there are small point holes, due to which the liquid is structured.

Portable water ionizer
Principle of operation
The water ionizer is a complex device, the principle of operation of which should still be found out before purchase:
- In the design of any water ionizer there is a system, generator and producing ozone. These are the main elements of this device. There are special plates, mainly titanium, due to which the electrolysis of water occurs.
- The device is installed on water taps in the bathroom or in the kitchen. Water enters a container in which there is a filter that traps heavy salts, metals, mechanical particles - all that can harm the human body.
- The device itself has silver particles, due to which the process of disinfection of the incoming water occurs.
- The liquid molecules are affected by an electric current in this way: alkaline, or in another way, mineral elements contained in water are sent directly to negatively charged electrodes. But to the positively charged electrodes are sent acidic elements contained in the water.

Water ionizer operation scheme
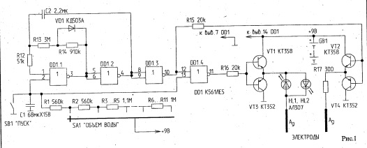
Schematic diagram
Using an electrical circuit, you can make a water ionizer yourself at home. The diagram shows how the device works.

Schematic diagram
Silver water ionizer - how to use?
Silver, as you know, has a powerful bactericidal property, normalizes metabolism, removes harmful substances from the body. Based on these properties of silver, it is not at all surprising that ionizing devices contain particles of this substance.
Rules for using silver water ionizer:
- First you need to prepare a glass container with water, preferably that it is bottled. The capacity must be selected for the number of liters for which the ionizer is designed.
- The device is placed inside the tank. It is important that the ionizer is completely in the water.
- Then the power cord is connected.
- On the device, you need to set the required water treatment mode and volume. Then the start button is pressed. At the end of the device, the resulting water can be consumed, and also use the resulting liquid for cooking.
Silver chain water ionizer: application
Currently, a silver ionizer on a chain has become very popular. This small, but stylish thing can be a wonderful gift for adults and children. They are sold in jewelry stores at affordable prices.
Silver ionizer looks like jewelry on a chain with a clip, with which it is attached to any container with liquid. Such an ionizer is made of silver of high fineness.

Silver ionizer on a chain
A little more about the use of a silver ionizer on a chain:
- Devices for water purification of this type are made of the highest quality silver, easy to use. It is enough to lower it into a carafe, glass or glass and secure it with a clamp. In a day, water without bacteria will be ready for use.
- The resulting water can be used for washing, thereby not only cleansing the skin, but also removing inflammation, rejuvenating and smoothing wrinkles.
- If you drink such water daily, you can get rid of dysbiosis and provide the prevention of viral diseases.
The disadvantage of such a device on a chain is that it is not able to rid water of various impurities, salts and heavy metals. For this, an additional filter is required.
Who first invented the water ionizer?
Water ionizer is a thing that is rapidly gaining popularity, especially in non-CIS countries. Its benefits are written and spoken everywhere. But who invented this amazing and necessary device?
Modern water ionization technology was invented by the famous scientist, inventor of the DC generator, Michael Faraday. He also invented electrolysis, through which water disinfection occurs.
Many centuries have passed since then, during which various scientists, inventors, engineers wondered about living and dead water, and searched for answers to these questions during expeditions and experiments. And now, after so many years, a wide variety of devices for ionizing water are on sale. Compare the most popular models of this device.
Aqualife
This Lithuanian ionizer is considered quite high quality and popular:
- called the Akvalife model;
- its cost is about 20,000 p .;
- can process up to 2.7 liters at a time;
- can produce acid and alkaline water;
- convenient to manage.
The only negative of this model is the rather high cost of its parts and cartridges.

Aqualife water ionizer
Panasonic
It is perhaps the most expensive water ionizer. Presented by its Japanese manufacturer:
- Model Panasonic TK8051P-S is called;
- the cost of the device is about 55,000 p .;
- has 4 degrees of water purification;
- purifies and ionizes a liquid similar in chemical composition to spring water;
- creates both acid and alkaline water;
- works with hot water.

Panasonic TK8051P-S water ionizer
Nevoton
A device for water purification from a domestic manufacturer is considered an inexpensive, but simple and high-quality device:
- the price ranges from 2500 to 3500 p .;
- preserves all the beneficial properties of water obtained during its treatment for several hours;
- handles up to three liters;
- completely disinfects the liquid.

Nevoton IS-112
Willow and willow-2
Both models are also a water ionizer from a domestic manufacturer:
- cost about 6,500;
- equipped with a digital timer by which a signal sounds at the end of water treatment;
- contains a silver rod of the highest standard;
- weighs just 800 grams.

Willow-2 Silver
Tech
Water ionizer from a Taiwanese manufacturer. With one click on a special button, the fluid is processed:
- the cost of about 36,000 p.;
- 6 different levels of processing;
- fully protected against overloads;
- emits a sound signal;
- has a high flow rate.

Tech-737
Now, knowing the information about the beneficial properties of water ionizers and their characteristics, it will be easier to choose a device for home use.
How to install a water and air ionizer
Do-it-yourself water ionizer: diagram and instructions
Ionization of air - what is it and why is it needed
Useful or harmful air ionizer in the apartment
Why do I need an air ionizer at home, how to choose and how to use it 
